Huawei Apple Vision Pro'ya rakip olacak: Yüzük ile kontrol ediliyor

Huawei, Apple Vision Pro'ya rakip olacak VR/AR gözlük patentini aldı. Bu gözlüğün en temel farkı ise parmağa takılan yüzük ile kontrol edilebilecek.
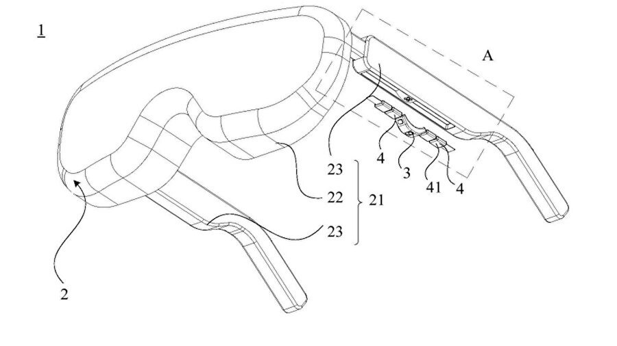
Huawei, akıllı yüzükle kontrol edilen AR/VR gözlüğü için patent aldı. Çin Ulusal Fikri Mülkiyet İdaresi (CNIPA) üzerinde yayımlanan CN120871434A numaralı başvuru; gözlük çerçevesine oturan çıkarılabilir bir kayışın parmağa takıldığında akıllı yüzüğe dönüşerek gözlüğü kontrol etmemizi sağlıyor.
Huawei AR gözlük nasıl olacak?
Patent dökümanına göre bu yüzük; dokunma, kaydırma, işaret etme ve jest algılama ile menülerde gezme gibi birçok kontrolü sağlamamıza yarıyor. Yüzük çerçeveye geri takıldığında basit dokunuşları destekliyor ve manyetik bir yuvada kablosuz biçimde şarj oluyor.

Sızıntıyı haberleştiren diğer kaynaklar da aynı bilgileri doğruluyor: Huawei’nin akıllı gözlüğe entegre çıkarılabilir halka/kayış fikri, gerektiğinde yüzük formuna geçip uzaktan kumanda gibi kullanılabiliyor.

Sektördeki VR/AR gözlüklere göre daha kolay bir kontrol alanı sunduğunu söyleyebiliriz. Fakat henüz yeni alınan bir patentten bahsediyoruz. Bu yüzden şimdilik piyasaya sürülmesi için çok erken olduğunu söyleyebiliriz. Önümüzdeki dönemlerde Huawei gözlük modeli hakkında yeni detaylar ortaya çıkacaktır.
